U.S. Cylinder standards

Please register or login

Welcome to ScubaBoard, the world's largest scuba diving community. Registration is not required to read the forums, but we encourage you to join. Joining has its benefits and enables you to participate in the discussions.

Benefits of registering include

  • Ability to post and comment on topics and discussions.
  • A Free photo gallery to share your dive photos with the world.
  • You can make this box go away

Joining is quick and easy. Log in or Register now!

Tanks A Lot

Contributor
Messages
517
Reaction score
1,067
Location
Germany
I'm looking for the U.S. standard that describes the cylinder to cylinder valve connection. More specifically, which document describes the exact dimensions of e.g. the O-ring groove.

EN144-1 Valve & Square Shoulder.png
1726146958615.png


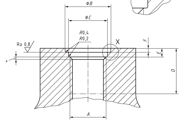
For the European market, this is fairly straight forward described in EN144-1 and further exactly laid out in ISO 15245-1. These documents give the exact measurements for both the cylinder opening and cylinder valve stem. I fail to find something similar for the U.S.. Neither CFR 49, nor CGA V-1 or CGA V-9 give any concrete details.
  • The CFR 49 is only vague with general guidelines for manufacture or tests.
  • CGA V-1 is extremely detailed on cylinder valve to regulator connections, but the cylinder to cylinder valve connection is again only generally talked about in Section F.
  • CGA V-9 gives again mostly manufacture standards, but no exact dimensions.
I'm not after the actual dimensions, as I do know these. I'm interested in which standard exactly describes the dimensions for the U.S..
 
3/4-14 NPS, can also be called NPS -12 is the most common thread used and is part of an engineering standard. They are sealed with a #214 o-ring which will also have standards for cutting.

The "skinny necks" that were used for 3500psi tanks 7/8" UNF which will also have engineering standards and they are sealed with a #116 o-ring which again will have standards for cutting the seat.

Now, I know you said you don't need the dimensions which is what I just gave you, but that was for anyone else looking through this who does not know. There are no "standards" that any governing body has, manufacturers could go back to 1/2" NPT if they wanted to, the military uses some funny connections on some of their tanks, and we are free to use whatever valve connection we want. The 3/4-14 NPS has become the defacto standard to make everyone's life easier, but no one is telling the manufacturers to use it and I doubt they will. The Standards that you found are for manufacturing standards to make sure they're all built well enough but it is unlikely that you will find one that actually tells them a specific connection to use. Welcome to America!
 
Thanks for the response, I appreciate it.

I should have been clearer above and I'm not doubting that there isn't a clear standard in place, but it seems so foreign/unlikely to me. I do realize that there is a clear distinction between a standard and law, the same is true for Europe.

But the threads for example are clearly defined in ASME B1.1 and all the ones in use are derived from this a standard. Also all the cylinder valve to regulator connections are exactly laid out in for example CGA V-1. It seemed so unlikely to me that the "piece" between the cylinder valve threads, which are exactly defined, and the valve outlet, which is exactly defined, would not be defined at all. Especially as these thing are clearly defined everywhere else I know of.

That being said, I guess you are absolute spot on, because after days of searching I have not come up with anything. Maybe you guys are truly the Wild West out there, hah!
 
Thanks for the response, I appreciate it.

I should have been clearer above and I'm not doubting that there isn't a clear standard in place, but it seems so foreign/unlikely to me. I do realize that there is a clear distinction between a standard and law, the same is true for Europe.

But the threads for example are clearly defined in ASME B1.1 and all the ones in use are derived from this a standard. Also all the cylinder valve to regulator connections are exactly laid out in for example CGA V-1. It seemed so unlikely to me that the "piece" between the cylinder valve threads, which are exactly defined, and the valve outlet, which is exactly defined, would not be defined at all. Especially as these thing are clearly defined everywhere else I know of.

That being said, I guess you are absolute spot on, because after days of searching I have not come up with anything. Maybe you guys are truly the Wild West out there, hah!
The CGA standards are set to define the outlets so you don't put the wrong regulator on the wrong gas so it prevents you from expecting Argon and getting O2 for example, or in some of them they are pressure related like CGA 346/347 but it prevents cross contamination of systems and what not but the bottle to valve connection is highly depending on the type of bottle and doesn't really matter once the appropriate valve is installed.
 
There are no standards for the o-ring groove. Despite both using 3/4 NPS threading nowadays, most steel tank manufacturers I know of use a conical seating surface, aluminum tank manufacturers use a square cut surface. They both work, but there is no obligation or expectation that either get cut to any particular dimension. Both use 214 Orings but nobody says they have to use that size. If the Oring groove seals then its "acceptable".

In general, our rules (CFRs) are specifically written to allow manufacturers to come up with what works best / most efficiently for them once the overarching public interest goal of the rule is met. In this case it's not having cylinders explode and kill people like pressure vessels of the past. Hence the details on metallurgy and testing and absence of sealing surface details.
 

Back
Top Bottom