Basic gear from mid-twentieth-century France

Please register or login

Welcome to ScubaBoard, the world's largest scuba diving community. Registration is not required to read the forums, but we encourage you to join. Joining has its benefits and enables you to participate in the discussions.

Benefits of registering include

  • Ability to post and comment on topics and discussions.
  • A Free photo gallery to share your dive photos with the world.
  • You can make this box go away

Joining is quick and easy. Log in or Register now!

Thanks, Pete and АлександрД for posting and discussing the picture of Mary Belewsky in the aviator-style diving mask that preceded the introduction of the modern nose-enclosing mask. What also struck me was the date - May 1941 - when we Brits assume the whole of Europe was at war and therefore engaged in occupations other than spearfishing, which might have suggested leisure and recreation rather than life and death condlict. At that time and for the remainder of the war, however, spearfishing would have been a welcome means of eking out meagre rations in Marshal Pétain's Vichy France rather than a leisure pastime.

On to some more diving masks from the Cavalero Champion stable. We'll begin with a basic model resembling ones reviewed earlier.

US Cavalero Tahiti diving mask

Tahiti.jpg
The caption accompanying this mask reads: "All purpose mask, always popular for its exceptional comfort. Soft feather edged seal, tempered lens and stainless steel rim." What made this mask different was its presence in the 1977 catalogue of US Cavalero, the American wing of the French Champion company, alongside other masks with newer designs and features. The selling point of a comfortable but well-sealing feather edge recalls a very early Cavalero patent to that effect, drawings below:
FR920668.jpg

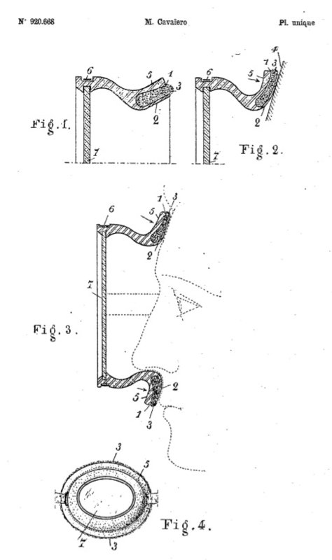
According to this remarkably early April 1947 patent, FR920668: Gorge jointive assurant l'étanchéité des bords des lunettes sous-marines, René Cavalero was considering the use of foam rubber to ensure a better seal between the mask skirt edge and the face.
 
More masks to come, and we'll focus next on a range of masks whose selling point was their ear-clearing "equaliser" feature that earned another patent (FR920668: Dispositif régulateur de pression pour masque de plongée) for René Cavalero in December 1964:
FR1387649.jpg

In this case, Cavalero's patent came in the wake of other inventors' patents, notably those of Georges Beuchat and Roland Forjot relating to diving mask compensator devices. Here are the diving masks fitted with Champion's equalisation devices:

Champion Equi-competition diving mask
Equi-Competition.jpg

US Cavalero Competition diving mask
Competition.jpg

Champion Equi-pression diving mask
champion_60-1_2.jpg

See-Bee_1962c.jpg


The early 1960s ads above indicate that the "Equi-pression" mask was exported to Italy and Australia.

Champion Purge-Equi diving mask
Purge-Equi.jpg

The Equi-Purge diving mask was fitted with a drain valve as well as "equalising pockets".

I'll finish there for today. Next time I'll post for review the Champion Gymnot range of compensator masks.
 
Thanks, Pete and АлександрД for posting and discussing the picture of Mary Belewsky in the aviator-style diving mask that preceded the introduction of the modern nose-enclosing mask. What also struck me was the date - May 1941 - when we Brits assume the whole of Europe was at war and therefore engaged in occupations other than spearfishing, which might have suggested leisure and recreation rather than life and death condlict. At that time and for the remainder of the war, however, spearfishing would have been a welcome means of eking out meagre rations in Marshal Pétain's Vichy France rather than a leisure pastime.

On to some more diving masks from the Cavalero Champion stable. We'll begin with a basic model resembling ones reviewed earlier.

US Cavalero Tahiti diving mask

View attachment 517193 The caption accompanying this mask reads: "All purpose mask, always popular for its exceptional comfort. Soft feather edged seal, tempered lens and stainless steel rim." What made this mask different was its presence in the 1977 catalogue of US Cavalero, the American wing of the French Champion company, alongside other masks with newer designs and features. The selling point of a comfortable but well-sealing feather edge recalls a very early Cavalero patent to that effect, drawings below:
View attachment 517194
According to this remarkably early April 1947 patent, FR920668: Gorge jointive assurant l'étanchéité des bords des lunettes sous-marines, René Cavalero was considering the use of foam rubber to ensure a better seal between the mask skirt edge and the face.
The use of foam for a face seal stems from the original Wilen-Kramarenko mask as it was originally fashioned from a form of plastic softened to shape it and then the foam sealing rim attached to create the body of the mask. Once the mask body was molded in rubber the foam could be done away with as dive masks had also been successfully made from tire inner tubes cut to shape as had been commented on by Commandant Yves Le Prieur. The use of foam is misplaced in a rubber mask with a compliant body, so that patent was just covering another option by staking out that possibility which is rather common in patent applications in order to deny that option to someone else..
 
I'm grateful for that info about foam-rubber edged diving masks, Pete.

On to a few more Champion diving masks. Here is the "Masks" page from an undated Champion catalogue from the 1960s:
Masks_Page.jpg

We've covered the "ovals" displayed on the page, so let start on the rectangular Gymnot masks.

Champion Gymnot diving mask
1412078272b.jpg

1412078272c.jpg

s-l1600a.jpg
s-l1600c.jpg
If you read what it says about the Gymnot model on the Masks catalogue page, you will see that it is designed to provide a wide view as well as ear-clearing equalisation. One version came with a drain valve.
 
Thanks to the scan of the 1977 US Cavalero catalogue in Bryan Pennington's wonderful and generous diving manual and catalogue collection accessible from Vintage Double Hose - Index page, we can also see the range of Gymnot diving masks available to the American public:
US_Cavalero_1.jpg



US_Cavalero_2.jpg


So five models in the Gymnot range:
1. Basic model with black rim.
2. Deluxe model with stainless steel rim.
3. Deluxe model with purge valve.
4. Mini model with yellow rim for smaller faces.
5. Mini model with purge valve.

I'll leave matters there for today. We'll take a look at Champion Cavalero dual-lens diving masks in several days' time.
 
Let's move on to three Champion Cavalero dual-lens diving masks. First the Equinaut, whose prefix "equi-" highlights its ear-clearing feature.

Champion Equinaut diving mask
Equinaut_1960s.jpg

Equinaut_USCavalero.jpg
The first image is from a European 1960s Champion catalogue, while the second is from a 1977 US Cavalero catalogue. A comparison between the two reveals interesting cultural differences, what with the first providing a higher degree of technical detail including metrics and what with the second focusing on the benefits to the end-user, including a reference to facial hair.

This class of mask looks not only forwards to modern binocular diving masks but also backwards to the world's first diving mask with a goggle-shaped lens and a nose pocket, the Cressi Pinocchio, modelled below by its designer Luigi Ferraro:
1luigiferraro_0-preview-jpg-411046-jpg.511738.jpg
 
The other two models in the Cavalero Champion range of dual-lens diving masks are the Corsica and the St.Tropez, both only appearing in the 1977 US Cavalero catalogue and therefore presumably late additions to the repertoire after the success of the Equinaut.

US Cavalero Corsica diving mask
Corsica_USCavalero_1977.jpg

US Cavalero St. Tropez diving mask
St_Tropez_USCavalero_1977.jpg

That's it for today and for Champion diving masks. We'll proceed to the company's snorkel range next time.
 
Next up are the Cavalero Champion snorkels. Let's go right right back to 1946, when the company offered two different breathing tubes:
cavalero-champion-1946-page-8-jpg.53969.jpg

attachments%2Fchampion-1946-catalogue-page-8-jpg.516446%2F&hash=52292bfdf75212aa4634ab562f974cbf.jpg

For the above I am indebted to Popgun Pete, who posted the original French catalogue page and his translation on the Deeper Blue Forum. As you can see, the two 1946 Champion snorkel offerings comprise a side-mounted model (Figure 9) and a front-mounted model (Figure 10). In the case of the side-mounted model, note the familiar J-shape with the extra twist in the U-bend at the bottom of the tube. As for the front-mounted model, note the bracket in the middle of the barrel for attachment to the top screw of the diving mask. Time for a reminder too that front-mounted snorkels were a popular choice during the 1950s.

The following image is from the British Sub Aqua Club journal Neptune and comes with a caption describing the same configuration as "a combined mask-tube of the type which many previously made for themselves." The caption alludes to a preference among mid-1950s British snorkellers for frontal snorkels long before such devices became a component of the competitive swimmer's kit:
combinedmask-tube-jpg.460158.jpg

Here is a photograph from the 1956 publication Underwater sport on a small income by Barry J. Kimmins:
baths200-jpg-453531-jpg.460169.jpg


The frontal snorkel was actually invented by Dr Raymond Pulvénis (founder of the Watersports company in Nice) in France during the 1940s:
0d746101af1ac03825081a7c29a96648-jpg-457302-jpg.460170.jpg


Two further pictures of underwater swimmers using frontal snorkels during the 1950s and 1960s:
neptune_1956_b-jpg.460166.jpg

which-png.460167.png
 
Moving forward now to the 1960s, the Cavalero Champion range of snorkels has expanded somewhat in the meantime:
Snorkels_1960.jpg

The original side-mounted snorkel survives in the "Tuba Standard" marked "E", still with its U-bend and slight twist but with the top curved downwards to accommodate a shut-off ball valve if desired. The other models in the illustration are newer designs with all-rubber barrels for flexibility and shock resistance and with orange top bands to alert other water users of the snorkeller's presence, which became a requirement of the German and Austrian Standards on snorkels, DIN7878 of 1980 and ÖNORM S4223 of 1988 respectively.

The Tuba "L" exemplifies L-shaped snorkel, which claim to reduce breathing resistance, to cut water drag and to remove the "water trap". The Tubaflex represents the original side-mounted snorkel design, cherished by some for their simplicity but eschewed by others because water accumulates in the U-bend at the bottom. Note the "eye" on the U-bend for a cord to be threaded through then tied around the neck to prevent snorkel loss. The Tuba 1-piece is the same J-shaped breathing tube without the "eye". The Tuba-Plix is a flexible-hose snorkel, which curries favour with some scuba divers because the flexible hose between the tube and the mouthpiece causes the lower part of the snorkel to drop out of the way when it is no longer in use.
 
And to those still curious about the development of Cavalero Champion snorkels into the 1970s, I offer the snorkel section of the 1977 US Cavalero catalogue:
USCavalero_1977.jpg

The Tuba L is still there and so is the Tuba Plix, renamed the Snorkel Flex for the English-speaking world. The three remaining models incorporate the two major innovations in snorkel development since the early 1960s. The Corsica represents the then new "contoured" snorkel design whose "wraparound" shape with smooth curves closely follows the outline of the wearer's head, improving wearing comfort. The two Pro Snorkel models copy Dacor's "wraparound big-barrel" contoured snorkel, which not only closely follows the outline of the wearer's head but also comes with a wider bore to improve airflow.

That's all, folks, for today. Next time we'll have a closer look at the Champion range of fins.
 

Back
Top Bottom